
「IPO全观察」栏目聚焦首次公开募股公司,报道企业家创业经历与成功故事,剖析公司商业模式和经营业绩,并揭秘VC、CVC等各方资本力量对公司的投资加持。
作者丨巴里
编辑丨吴岩
图源丨midjourney
清华夫妻档似乎正在掀起了一波上市热潮。
3月,凯乐士科技成功登陆港交所,清华校友谷春光、杨艳夫妻携手敲钟;同样出身清华的庄莉、周枫夫妻创办的镁佳股份也已经向港交所递表。
就在日前,又一对清华夫妻档冲刺IPO。中茵微电子(北京)股份有限公司正式向港交所主板递交上市申请,平安证券(香港)为独家保荐人。
这家半导体企业从成立到递表仅用了5年时间,这样的速度在十年前的国内半导体行业几乎不敢想象——它用5年走完了同行十余年的路。按2025年芯片设计及交付收入计算,中茵微电子稳居国内国产芯片定制服务提供商第二;按2025年AI ASIC收入计算,公司位列国内第三,可谓是AI芯片赛道跑出的一匹黑马。
这家公司背后集结了众多知名投资机构。IPO前,北京国资平台——基石创投持股4.5%,为公司最大的外部机构投资方,国投大湾区基金、洪泰基金紧随其后;更吸引了华为哈勃、上汽旗下尚颀资本、联通创投三大产业资本入局,同时获得了北京、南京、上海、深圳等多地国资平台的密集押注。
这样的跨越式成长,正是踩中了AI大模型爆发的行业红利。云端大模型训练带来算力需求井喷,边侧、端侧AI场景规模化落地,也对芯片能效与场景适配性提出了更高要求。相较于通用GPU,ASIC(专用集成电路)凭借定制化架构实现了更优的性能、能效与成本效益,成为AI算力规模化落地的核心载体,直接带动AI ASIC定制服务需求持续暴涨。
正是在这一风口下,中茵微电子从成立之初就锚定AI ASIC赛道,打造了“IP授权+芯片设计+芯片交付”的全链条服务模式,为AI大模型、高性能计算场景打造定制化“算力心脏”。
而这场国产芯片突围战的背后,是王洪鹏、张冬青这对清华校友夫妻,一个深耕技术、一个操盘商业,携手深耕芯片“卡脖子”领域的创业故事。

外企高管辞职创业
组成“技术+商业”夫妻档
2021年2月,中茵微电子作为南京市浦口区重大引进项目正式落地,由清华系背景的凌华集成电路技术研究院孵化。这家公司的诞生,既是国内半导体产业国产替代的时代必然,也是创始人王洪鹏酝酿多年的一次人生抉择。
王洪鹏是清华大学1999级电子工程系的校友,本科拿下电子科学与技术学位,硕士攻读电子与通信工程专业,在芯片领域拥有超过19年的先进制程IC设计与高端IP开发经验。
从清华毕业后,他的职业生涯起点便是美国头部半导体企业Silicon Image Inc.,从一线研发工程师做起,深耕系统架构、芯片设计与验证领域,一干就是近十年。回国后,他又出任上海莱迪思半导体系统架构与芯片验证总监,负责FPGA IP开发、SoC系统架构全流程,是业内少有的兼具海外先进技术视野与国内产业落地经验的技术专家。
在外企顺风顺水的晋升之路,却让王洪鹏陷入了深深的职业困境。

中茵微电子创始人、董事长王洪鹏
“最大的问题在于对自己的未来缺乏掌控,只要给别人打工,按照别人布局好的战略和方向做事,你就不可能有自己核心的战略和产出。”
彼时国内半导体产业正处在关键的突围期,IP作为芯片设计的核心底层技术,国产化率却不足5%,高端市场几乎被欧美厂商垄断。这份行业的焦虑与个人的职业理想碰撞,让他最终下定决心:辞职创业,在芯片核心技术领域,走出一条属于中国企业的路。
2020年底,王洪鹏正式启动创业,2021年中茵微电子落地南京,可创业的开局远比他想象的艰难。
从美资企业的高管到初创公司创始人,巨大的落差感扑面而来:初创公司一没名气、二没资源,别说拿下行业头部客户,就连招揽核心人才都处处碰壁。
更严峻的是,公司成立当年就遭遇了半导体行业产能危机,2022年整个行业又进入下行大周期,市场持续萎缩,刚起步的中茵微电子腹背受敌。
接连的逆境没有击垮王洪鹏,清华求学时两位导师的教诲,成了他创业路上的定盘星。
导师王志华教授反复告诉他:“无论做什么行业,走到最后一定会来到无人区,只有长期积累自己的能力和认知,找到那条路径,才能做到最强;在任何领域,做任何事情,都要勇争头部。”而魏少军教授关于“技术自力更生,同时要走国际化道路”的行业判断,也让他定下了公司的长期战略。
王洪鹏和创业团队迅速调整心态,定下了“认清现实,先做最有把握的事,再逐步迭代”的发展策略。依托自己在行业内十余年积累的人脉与声誉,他一遍遍向产业链上下游、金融机构讲述企业的技术价值与行业前景,最终成功拿到银行贷款,顺利解决了产能危机。
当整个行业陷入市场萎缩的困境时,中茵微电子反而凭借提前布局的技术路线,实现了逆势增长。
创业路上,王洪鹏还找到了另一个重要的“助推器”——清华校友三创大赛。他前后三次参赛,不仅让公司的技术实力和市场定位获得了行业认可,打开了企业知名度,更重要的是结识了一大批优秀的清华校友创业者和投资人,为公司后续的多轮融资埋下了伏笔。
在他的带领下,当时成立仅两年的中茵微电子就交出了亮眼的成绩单:累计拿下近10亿元订单,深度绑定众多行业头部客户,还获评2022年南京市培育独角兽企业,成立两年多就完成了5轮融资,收获了十余家知名投资机构的青睐。
这场创业突围战,王洪鹏并非孤军奋战。他的妻子张冬青,与他组成了“技术+商业”的黄金夫妻档,成为中茵微电子从0到冲刺IPO的核心掌舵人之一。
张冬青同样是清华校友,2006年拿下清华大学高分子材料与工程学士学位,后又取得北京师范大学高分子化学与物理硕士学位。
与王洪鹏的技术背景不同,张冬青拥有十余年世界500强企业的商业运营与市场拓展经验,先后任职于立邦涂料、赢创特种化学、蓝星星火有机硅,从亚太区营销经理做到了高级营销经理,全程操盘过业务线增长战略、大型商业洽谈甚至并购项目。
2021年中茵微电子成立之初,张冬青便加入公司担任总经理,与王洪鹏形成能力互补:王洪鹏锚定技术研发方向,筑牢核心IP护城河,把控公司长期战略;张冬青统筹公司整体业务运营,打通市场拓展、客户服务、供应链管理全流程,把技术优势转化为商业成果。
这对清华夫妻,一个深耕技术无人区,一个打通商业落地,携手把一家南京的初创企业,带到了港股IPO的门前。

多地国资扎堆押注
冲刺IPO前总部迁至北京
从南京浦口的孵化项目,到如今冲刺IPO,中茵微电子的成长之路,离不开投资机构的陪伴。
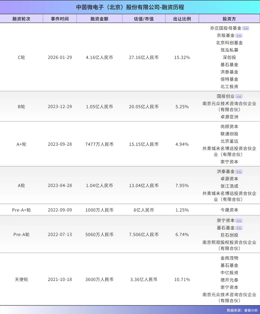
睿兽分析显示,中茵微电子成立至今累计完成至少7轮融资,累计融资额近8亿元人民币,投资方既包括知名VC、头部产业资本,还涵盖了南京、苏州、深圳、上海、北京等地的国资平台。
2021年10月,成立仅8个月的中茵微电子就拿下数千万元天使轮融资,由基石资本、金雨茂物领投,崇宁资本、中亿明源等跟投;2022年7月,完成亿元级Pre-A轮融资;2023年4月,再获超亿元A轮融资,洪泰基金领投,张江高科、卓源资本跟投;2023年9月,完成近亿元A+轮融资,引入尚颀资本、联通创投等产业资本;直至2026年1月上市前的C轮融资,公司单轮融资额达4.16亿元,投后估值约27.16亿元人民币,每股成本约156.8元。

值得关注的是,公司成立初期的前几轮融资中,投资方以南京、江苏本地国资为主。而2025年,公司将总部从南京迁至北京亦庄后,在2026年1月官宣的C轮融资中,投资方几乎全部为北京国资平台,包括亦庄国投母基金、京投基金、北京科创基金、基石基金、北工投资等,而此前持续参投的南京国资,并未出现在这一轮的投资方名单中。
除了多地国资的鼎力支持,中茵微电子的股东名单里,更是集齐了华为、上汽、联通三大行业龙头的产业资本。其中,华为通过全资控股的哈勃科技,以红土基金普通合伙人的身份间接持股。
IPO前,王洪鹏通过直接持股、控制的相关实体及一致行动协议,合计控制公司约54.85%的投票权。
外部机构股东方面,基石创投(隶属于北京市基础设施投资有限公司)以4.5%的持股比例,成为公司最大的外部机构投资方;国投大湾区基金紧随其后,持股比例为4.22%;洪泰基金实体合计持股3.95%;产业升级基金二期、北京新基建分别持股3.68%;上汽旗下尚颀汇融持股2.12%;联通创投持股1.59%;红土基金、北京亦庄分别持股1.47%。
对于本次港股IPO的募资用途,中茵微电子在招股书中明确了四大核心方向:一是核心技术研发,重点开发迭代下一代高速数据接口IP、高速存储接口IP及芯粒互连IP,巩固技术领先地位;二是产业链生态建设,加强与上下游合作伙伴的协作,搭建安全可控的闭环产业生态系统;三是全球化布局,扩张全球业务版图,提升国际品牌知名度;四是补充营运资金及一般企业用途。

营收三年暴涨554%
风口红利与成长阵痛并存
众所周知,半导体是典型的长周期、重研发、高壁垒行业,芯片设计公司从成立到IPO,往往需要跨越漫长的周期。
对比同赛道的头部企业,第一名芯原股份从2001年成立到登陆科创板用了19年,2025年收入为;深耕一站式芯片定制的灿芯股份也历时16年;即便是业内公认成长速度极快的翱捷科技,也用了近7年时间。而中茵微电子从成立到递表港交所,仅用了5年时间,这在十年前的国内半导体行业几乎不敢想象。
这样的跨越式成长,源于公司踩中了AI大模型爆发带来的行业红利。云端大模型训练的持续激增,带来了算力需求的爆发式增长;与此同时,边侧、端侧AI场景的规模化部署,也对芯片的能效表现与场景适配能力提出了更为严苛的要求。
在这样的行业背景下,相较于通用GPU,ASIC凭借定制化架构实现了更极致的性能、能效比与成本效益,成为AI算力从实验室走向规模化产业落地的关键载体。这也直接推动AI ASIC定制服务的市场需求持续攀升,使其成为拉动整个芯片定制服务市场增长的核心引擎。
招股书援引灼识咨询的数据显示,中国AI ASIC定制服务行业的市场规模,从2020年的44.2亿元一路增长至2025年的345.8亿元,年复合增长率高达50.9%,预计到2030年将突破2000亿元,达到2057.3亿元,2025到2030年的复合增长率仍能保持42.9%的高位。而在国产替代的大趋势下,国产化芯片定制服务市场规模预计将从2025年的93.5亿元增长至2030年的463.8亿元,年复合增长率37.8%,国产厂商的成长空间被彻底打开。
2025年,中国AI ASIC定制服务行业中,国内本土供应商的收入规模已达44.9亿元。以中国AI ASIC定制收入计,中茵微电子在国内供应商中排名第三,市场份额为9.4%,市场第一名占比33.7%,第二名为17.2%。按照中国芯片定制(芯片设计及芯片交付服务)市场计算,中茵微电子排名第二(中茵微电子总收入中还包含通信类ASIC),4.266亿元占比8.8%,第一名32.1%。
中茵微电子从成立之初就锚定了AI ASIC这条核心赛道,构建起“IP授权+芯片设计+芯片交付”的平台化全链条服务模式,为AI大模型、高性能计算场景打造定制化的“算力心脏”。
通俗来说,传统通用GPU在AI大模型训练中,常常会遇到数据传不动、算力用不满的问题,而中茵微电子做的,就是通过自主研发的核心IP,为客户量身打造专用的AI芯片(覆盖从4纳米到28纳米的工艺节点),解决数据传输瓶颈,让算力利用率实现最大化。
从收入结构来看,AI ASIC相关业务已经成为中茵微电子的绝对基本盘,2024年和2025年,该板块的收入占比均超过90%,是国内同赛道企业中,对AI场景聚焦度最高的厂商之一。
具体到业务板块,芯片设计与芯片交付是公司的核心收入支柱,2023到2025年,两大业务合计收入占比分别达到83.9%、73.3%和91.0%。其中芯片交付业务的增长最为迅猛,收入占比从2023年的28.8%跃升至2025年的49.0%,成为公司第一大收入来源;芯片设计业务2025年的收入占比为42.0%;IP授权业务则在2025年贡献了9.0%的收入。
与业务的高速扩张相匹配的,是公司营收规模的跨越式增长。2023年到2025年,中茵微电子的营收分别为7480.2万元、3.48亿元、4.84亿元,2024年营收同比暴涨364.63%,2025年依然保持了39.31%的高速增长,三年时间营收规模增长超5倍。
从客户构成来看,中茵微电子的客户主要集中在AI、通信及其他行业的芯片及系统供应商,客户采购其定制的AI ASIC芯片,核心用于解决数据传输瓶颈,实现大规模AI芯片集群的高效互联。
不过,在业绩高速增长的同时,公司也面临着客户集中度较高的问题。招股书数据显示,2023年、2024年及2025年,公司前五大客户贡献的收入分别占总营收的74.4%、95.1%及78.3%;其中第一大客户的收入贡献占比,在2024年曾高达81.5%,到2025年已降至37.4%,客户结构显著优化。
和绝大多数半导体初创企业一样,中茵微电子目前仍处于“高研发、高增长、暂未盈利”的阶段,2023到2025年,公司的净亏损分别为9843万元、4845.9万元、1.64亿元,2024年亏损曾同比收窄50.77%,但2025年亏损同比扩大了237.42%。
亏损扩大的核心原因,是公司为了巩固技术壁垒,持续保持了高强度的研发投入。招股书数据显示,2023到2025年,公司的研发开支占总收入的比例分别高达121.5%、50.5%、49.4%,即便在营收高速增长的2025年,研发投入依然接近营收的一半,在国内半导体设计企业中处于较高水平。

不过,高速奔跑的中茵微电子,依然无法回避与国内头部同行之间的客观差距,以及成长过程中暴露的短板。
从规模来看,2025年中茵微电子4.84亿元的营收,仅为芯原股份同期营收的20.8%、翱捷科技的14.3%、灿芯股份的44.4%,规模上的差距直接导致公司在晶圆采购、封装测试等供应链环节的议价能力,远不及头部同行,也让公司面对半导体行业周期波动时,抗风险能力相对较弱。
从盈利模型来看,公司目前仍未实现盈利,且亏损规模在2025年出现了明显扩大,而同赛道的灿芯股份已经实现了持续稳定的盈利,芯原股份、翱捷科技也在规模化营收的支撑下,亏损持续收窄。
尽管中茵微电子的亏损主要源于研发投入,但研发投入的商业化转化效率、能否在规模扩张的同时实现盈利模型的跑通,依然是公司需要解决的核心问题。
此外,在核心的IP领域,中茵微电子的IP矩阵丰富度,与深耕行业十余年的头部企业仍有不小的差距。芯原股份已经搭建起六大类处理器IP、1600余个数模混合IP的庞大产品矩阵,能为客户提供全场景的IP解决方案,而中茵微电子的IP产品目前主要聚焦高速接口领域,覆盖范围相对较窄。
当然,在AI算力爆发与芯片国产替代的双重浪潮下,这家由清华夫妻档掌舵的芯片企业,用5年时间证明了国产芯片企业在细分赛道实现快速突围的可能。
此次冲刺港股,更是一场大考——能否借助IPO,补齐规模短板、实现盈利突破,在与国际巨头和国内头部同行的竞争中真正站稳脚跟,将成为这对清华夫妻档,在上市后需要交出的答卷。

本文为创业邦原创,未经授权不得转载,否则创业邦将保留向其追究法律责任的权利。如需转载或有任何疑问,请联系editor@cyzone.cn。







